欢迎来到摩熵医械!共建医疗器械大数据平台!购买咨询:400-9696-311 转1

企业动态

3万+医疗器械生产企业信息在线查询方法(含名单下载)

李爽

1160阅读
2023/12/19
在真假难辨的互联网碎片化信息中,如何获取当地的医疗器械生产企业公司名录,如何找到靠谱的一二三类医疗器械产品生产商,如何进行范围性的器械厂家筛选查找,这是很多医疗器械企业和从业者在市场调查及商业合作开发中面对的难题。
 
作为一名医药大数据从业者,笔者整合资源经验,在此将几个非常实用的医疗器械生产企业线上获取的方法分享大家。
 
1. 两查一宝(天眼查、企查查、启信宝)
两查一宝是企业信息查询最常用的平台,可借此查询到部分医疗器械企业名录,以及企业的招投标、但局限较大。如在行业分类中无医疗器械生产企业类别,只能通过关键词“医疗器械”进行检索,无法判别是否是器械生产企业或是经营企业、代理商等其它类型,也查询不到该企业生产几类管理器械。
2. 国家药品监督管理局
按规定,医疗器械生产企业要取得对应级别的药品监督管理部门备案许可。取得备案许可后,各地方药品监督管理局则需向国家药监局上传相应数据,因此,国家药监局官网会收录所有医疗器械生产企业信息。
打开国家药监局官网,进入医疗器械数据板块,就可以看到医疗器械生产企业(许可)及医疗器械生产企业(备案)查询入口。值得注意的是,国家药监局官网初始页面不支持全量数据查看,也不支持地区、生产类别等条件筛选,只能通过关键词进行搜索。
结果页面可查看备案凭证编号、企业名称及详情(法人、地址、生产范围、备案日期)。
小技巧:若需查询全量数据,可输入关键词“公司”点击搜索,再进行下载自行分析。

3.专业垂直数据库查询
如果想要进行某些条件范围内的医疗器械生产企业全量数据查询,可以借助数屿医械下的中国器械生产企业数据库。这种数据资源库很适合做统计分析和商业机会挖掘。目前数屿医械收录的中国器械生产企业共有36815家,来自于国家药品监督管理局(NMPA)、各省市药品监督管理局、市场监督管理局等全国省市的登记的信息。
 
数屿医械功能板块细分很多。除了可以根据企业名称、经营状态进行定向搜索,还可以根据省-市-区/县三级区划、成立日期、可生产产品类别(ⅠⅡⅢ类)来筛选目标市场的企业用户量。
数屿医械在搜索展示页关联了企业很多维度的信息,可以初步了解企业状态,进行选择过滤。如在初始页面,可以查看企业名称、营业状态、法定代表人、营业期限、省份、城市、国家、区县、可生产产品类别、审评产品数量、上市产品数量、专利数量、成立日期。
 
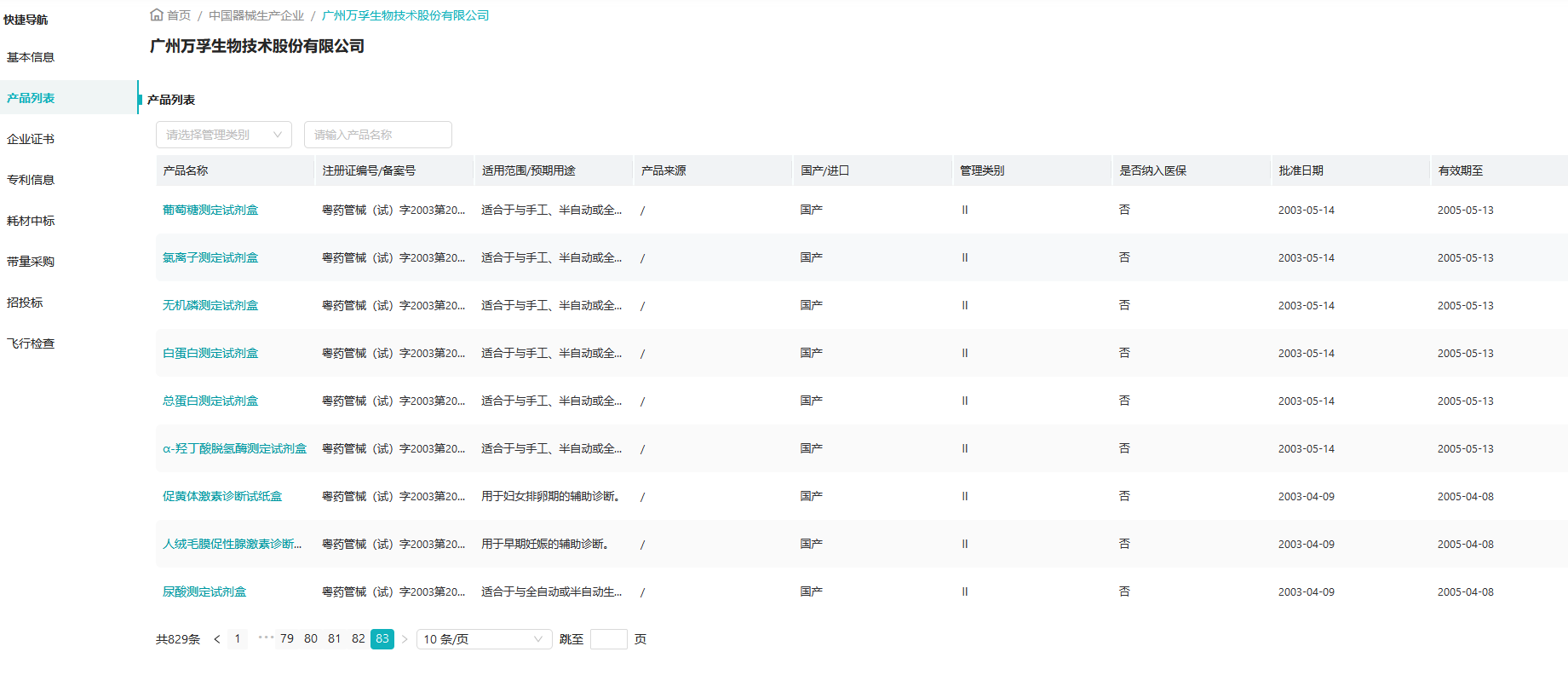
在企业详情页,可以查看邮箱、地址、电话、信用代码、生产范围、注册资金等基本信息,以及产品列表、生产企业证书、专利、耗材中标、带量采购、招投标及飞行检查几大板块具体内容。
 
如查询广东省可生产第三类医疗器械产品的生厂商,选择行政区划——广东省;可生产产品类别——Ⅲ类,点击搜索,得到414家广东省三类医疗器械生产企业,如下:
在结果页中,点击审评产品数量、上市产品数量及专利数量排行前列的广州万孚生物技术股份有限公司。可查询到该公司共有829件产品、336件生产企业及广告证书、13000+耗材中标/带量采购/招投标数据。数屿医械在信息后附上渠道来源和时间,支持追溯,能确保信息的可靠性。
以上便是医疗器械生产企业线上查询常用方法,除此之外,在日常工作开展中,可积极参与地区的医疗器械行业展会、主题或学术会议、专业协会等,从参展名录中获取相应企业信息,整理成册,形成适合自己的企业名录。